中国石油获得发明专利授权:“一种解堵剂、制备方法、使用方法及用途”
作者:小微
发表于:2025年05月24日
浏览量:49989

图片来源于网络,如有侵权,请联系删除
证券之星消息,根据天眼查APP数据显示中国石油(601857)新获得一项发明专利授权,专利名为“一种解堵剂、制备方法、使用方法及用途”,专利申请号为CN202210546210.5,授权日为2025年5月23日。
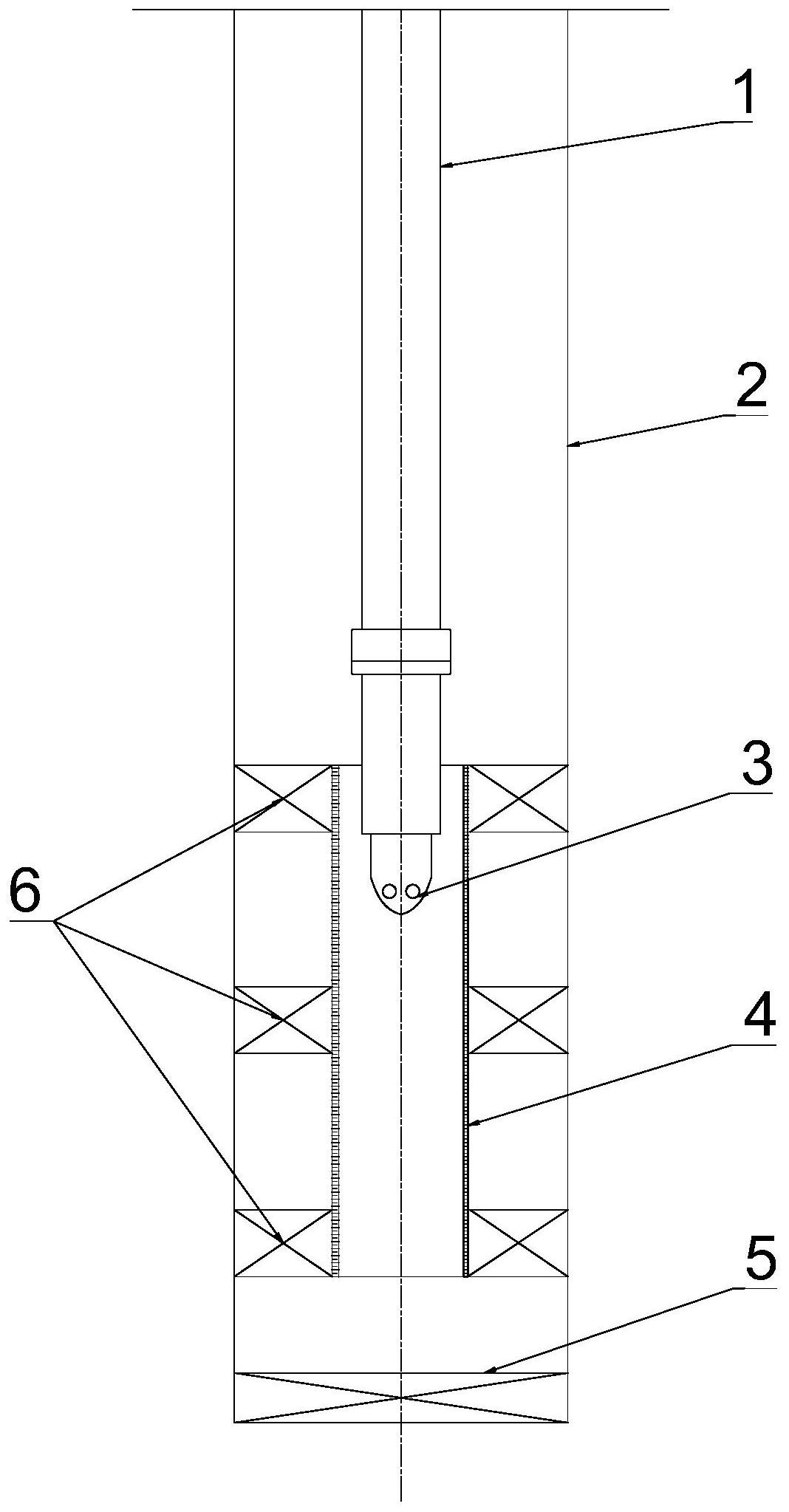
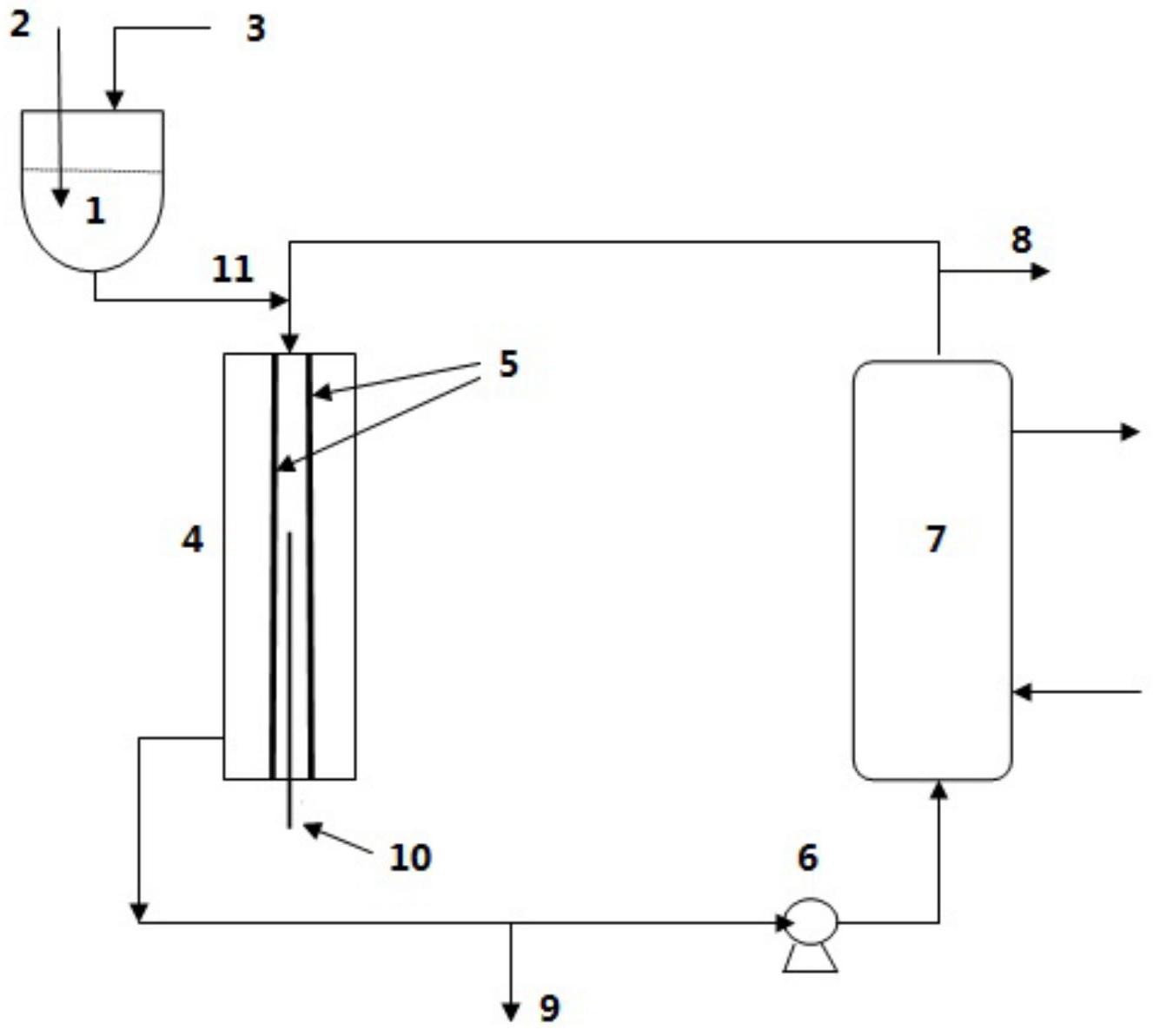
专利摘要:为解决现有技术需要将解堵剂的组成药剂分别投加导致的施工工艺繁琐、解堵剂不能按照设计比例在井筒中混合均匀的技术问题,本发明实施例提供一种解堵剂、制备方法、使用方法及用途,所述解堵剂由如下组份制成为均一的固体试剂:胺、多聚甲醛、五氯化磷、用于与水反应的放热剂、用于加速水合物溶解并抑制水合物二次生成的溶解抑制剂以及水溶性粘合剂;本发明实施例对井筒中致密水合物堵塞物和蜡质与沥青等粘稠有机物堵塞物进行溶解,实现了解堵;本发明实施例将解堵剂为均一的固体试剂,避免了现有的化学反应生热药剂中,氧化剂、还原剂以及催化剂交替注入来的工艺繁琐以及各种药剂在井筒分布不均的问题。

图片来源于网络,如有侵权,请联系删除
今年以来中国石油新获得专利授权453个,较去年同期减少了39.6%。结合公司2024年年报财务数据,2024年公司在研发方面投入了230.14亿元,同比增4.77%。
数据来源:天眼查APP
以上内容为证券之星据公开信息整理,由AI算法生成(网信算备310104345710301240019号),不构成投资建议。
