成大生物获得实用新型专利授权:“一种细胞培养转瓶无菌喷洗装置”
作者:小微
发表于:2025年05月24日
浏览量:57185

图片来源于网络,如有侵权,请联系删除
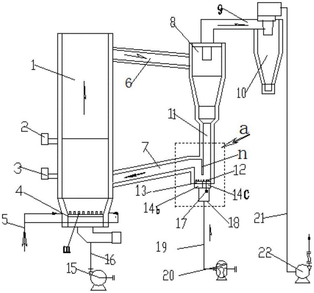
证券之星消息,根据天眼查APP数据显示成大生物(688739)新获得一项实用新型专利授权,专利名为“一种细胞培养转瓶无菌喷洗装置”,专利申请号为CN202421164218.6,授权日为2025年5月9日。
专利摘要:本申请涉及实验室设备的技术领域,尤其是涉及一种细胞培养转瓶无菌喷洗装置,其包括用于冲洗转瓶的喷淋机构、用于盛接废液的盛接机构以及用于支撑转瓶的瓶架,所述盛接机构包括顶部敞口的盛接桶,所述瓶架包括支撑于盛接桶开口上方的承托板,所述喷淋机构包括向上穿设固定于承托板上的喷淋管。本申请具有高效的完成培养液中血清去除工作的效果。

图片来源于网络,如有侵权,请联系删除
今年以来成大生物新获得专利授权3个,较去年同期减少了85%。结合公司2024年年报财务数据,2024年公司在研发方面投入了2.83亿元,同比增28.34%。
数据来源:天眼查APP
以上内容为证券之星据公开信息整理,由AI算法生成(网信算备310104345710301240019号),不构成投资建议。
