大禹节水获得实用新型专利授权:“一种高稳定性隧道施工的支护结构”
作者:小微
发表于:2025年05月23日
浏览量:60626

图片来源于网络,如有侵权,请联系删除
证券之星消息,根据天眼查APP数据显示大禹节水(300021)新获得一项实用新型专利授权,专利名为“一种高稳定性隧道施工的支护结构”,专利申请号为CN202421631543.9,授权日为2025年5月23日。
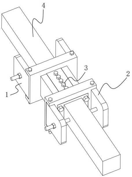
专利摘要:本实用新型涉及隧道领域,尤其涉及一种高稳定性隧道施工的支护结构,技术问题:现有的支护结构无法对隧道的两侧进行支护调节,缺乏稳定性,容易导致人员安全受到威胁,同时在光线不足的环境下工作,容易造成因照明的亮度不均匀导致视物不清,从而降低工作效率的问题;技术方案:一种高稳定性隧道施工的支护结构,包括有底座、支撑座和液压升降柱,还包括有支护架、固定组件和照明组件,支撑座安装于底座的顶部表面,支撑座的内部设置有固定组件,支护架的底端两侧均固定连接于液压升降柱的顶部,照明组件卡接安装于支护架的内壁底端;本实用新型通过固定组件的设置保障隧道两侧支撑防护的稳定性,照明组件的设置保证视物清晰度,提高工作效率。
今年以来大禹节水新获得专利授权9个,与去年同期持平。结合公司2024年年报财务数据,2024年公司在研发方面投入了9684.62万元,同比减21.5%。
数据来源:天眼查APP
以上内容为证券之星据公开信息整理,由AI算法生成(网信算备310104345710301240019号),不构成投资建议。
