海尔智家获得实用新型专利授权:“一种送风装置和具有其的空调系统”
作者:小微
发表于:2025年05月23日
浏览量:62014

图片来源于网络,如有侵权,请联系删除
证券之星消息,根据天眼查APP数据显示海尔智家(600690)新获得一项实用新型专利授权,专利名为“一种送风装置和具有其的空调系统”,专利申请号为CN202420867240.0,授权日为2025年5月23日。
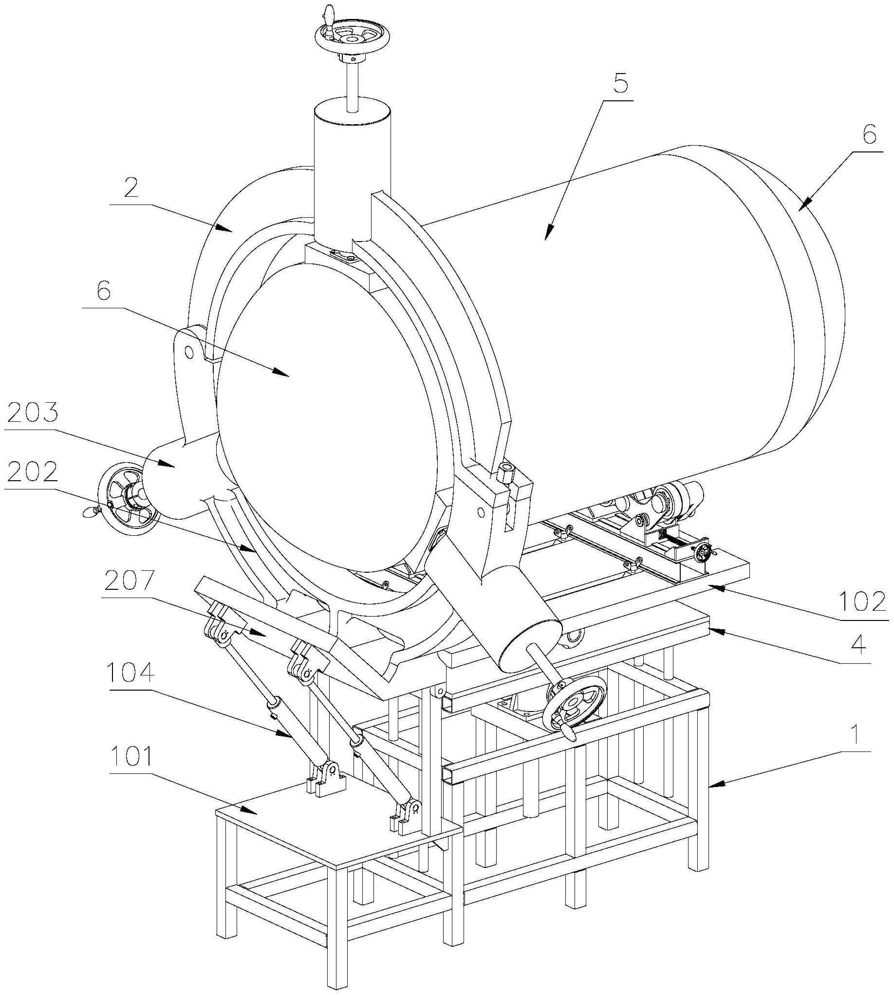
专利摘要:本实用新型提供了一种送风装置和具有其的空调系统。送风装置包括风轮支架和可转动地安装于风轮支架上的风轮、主动轮组、从动轮组、环状传动装置和档位调节装置,主动轮组可转动地设置;从动轮组安装于风轮上;环状传动装置套装于主动轮组和从动轮组,以在主动轮组和从动轮组之间形成传动连接;档位调节装置配置成张紧环状传动装置;主动轮组包括多个同轴设置的主动轮,多个主动轮的直径不等,档位调节装置还配置成使环状传动装置从一个主动轮上切换到另一个主动轮上;和/或从动轮组包括多个同轴设置的从动轮,多个从动轮的直径不等,档位调节装置还配置成使环状传动装置从一个从动轮上切换到另一个从动轮上,以达到减少能耗,降低成本的目的。
今年以来海尔智家新获得专利授权2137个,较去年同期减少了17.87%。结合公司2024年年报财务数据,2024年公司在研发方面投入了107.4亿元,同比增3.47%。
数据来源:天眼查APP
以上内容为证券之星据公开信息整理,由AI算法生成(网信算备310104345710301240019号),不构成投资建议。
