埃科光电获得外观设计专利授权:“水冷换热器”
作者:小微
发表于:2025年05月23日
浏览量:64313

图片来源于网络,如有侵权,请联系删除
证券之星消息,根据天眼查APP数据显示埃科光电(688610)新获得一项外观设计专利授权,专利名为“水冷换热器”,专利申请号为CN202430613355.2,授权日为2025年5月23日。
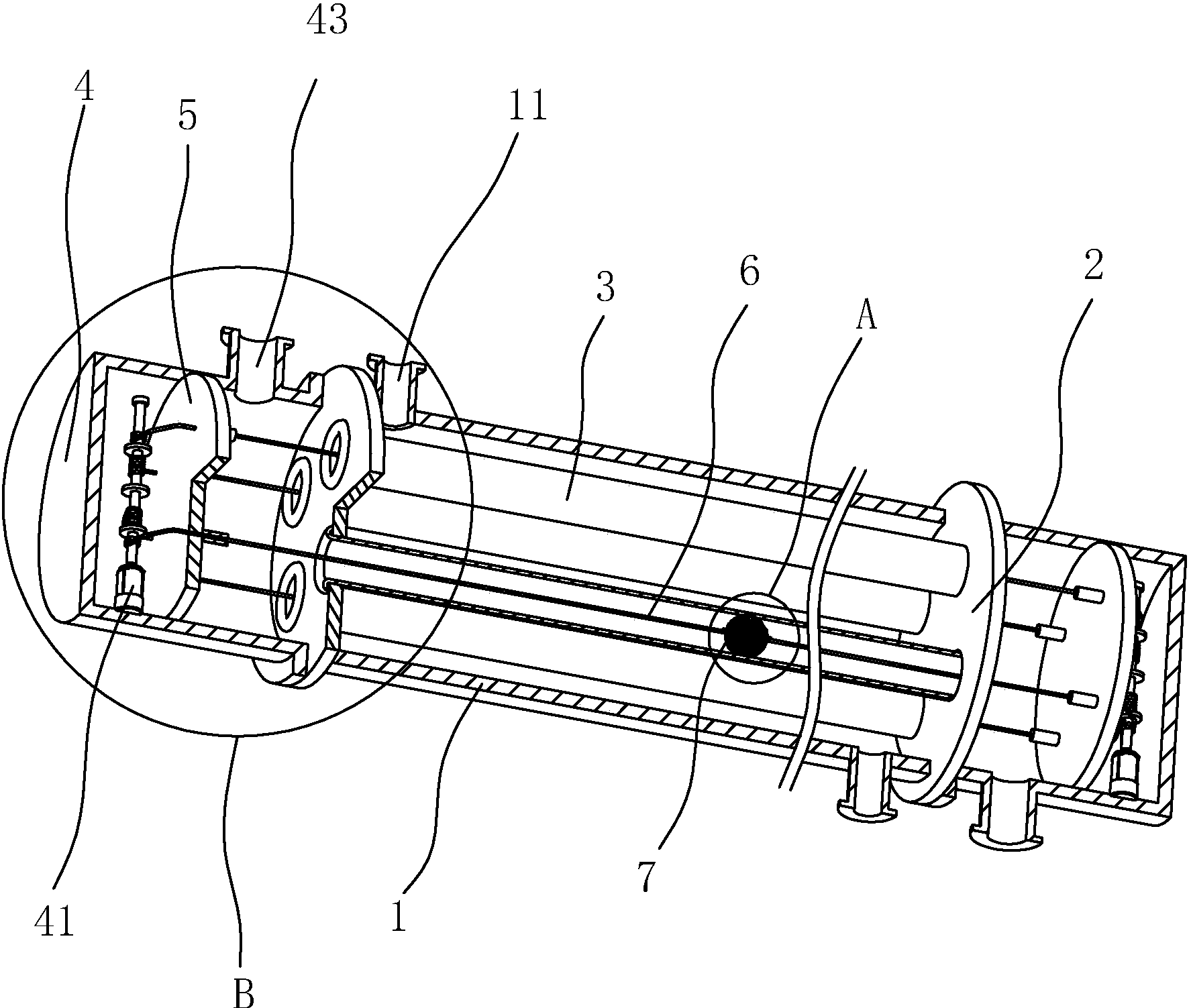
专利摘要:1.本外观设计产品的名称:水冷换热器。2.本外观设计产品的用途:作为水冷换热器,用于相机、手机等产品的散热冷却。3.本外观设计产品的设计要点:在于形状。4.最能表明设计要点的图片或照片:设计1立体图1。5.指定设计1为基本设计。
今年以来埃科光电新获得专利授权14个,较去年同期减少了46.15%。结合公司2024年年报财务数据,2024年公司在研发方面投入了4464.03万元,同比增50.49%。
数据来源:天眼查APP
以上内容为证券之星据公开信息整理,由AI算法生成(网信算备310104345710301240019号),不构成投资建议。
